Das neue Maschinenprinzip
 

 





Das Luftspulenprinzip führt zu höchsteffizienten elektrischen Maschinen.

Das Luftspulenprinzip ist ein neues Maschinenprinzip, welches wirkungsgradoptimierte Maschinen hervorbringt.
Diese Maschinen verfügen neben dem optimalen Wirkungsgrad auch über ideale Maschineneigenschaften für die meisten Anwendungen und dies über alle Leistungsklassen hinweg. Deshalb sind diese Luftspulenmaschinen die neue Generation der elektrischen Maschinen, die das Eisenzeitalter (d.h. Verwendung von mit Eisen gefüllten Spulen) der elektrischen Maschinen ablöst, womit das Luftspulenzeitalter beginnt.

Das Luftspulenprinzip basiert auf den frühen Forschungsergebnissen von Michael Faraday (1.Experimentaluntersuchungen über Elektrizität, 1832), bevor er selbst die Abstraktion seiner gefundenen Gesetzmäßigkeiten (1.Experimentalunter-suchungen über Elektrizität, 1851-52) vornahm, die James Clark Maxwell dann in eine mathematische Form die Maxwell'schen Gleichungen und deren Ableitungen übersetzte.

Das Luftspulenprinzip
Das Luftspulenprinzip ist die optimale technische Umsetzung der direkten Energieumwandlung zwischen freiem Leiter und Magnetfeld und beinhaltet die Optimierung des Zusammenspiels aller Vektoren B, l, v, was bedeutet, daß das Leitungskupfer optimal ins reale Feld gelegt wird unter Berücksichtigung der Größe der Geschwindigkeit und unter Minimierung von Kupferverlusten innerhalb jeder Spule, wobei auf Eisen, welches ständig umgepolt werden würde, verzichtet wird.




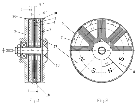
Generatorprinzip




Motorprinzip


Diese Gesetzmäßigkeiten sind zwar in jedem Lehrbuch der Elektrotechnik erwähnt, werden aber nicht in ihrer Gesamtheit zur Entwicklung von hocheffizienten elektrischen Maschinen herangezogen, sondern die heutige Entwicklung von elektrischen Maschinen orientiert sich an den abstrakten mathematischen Gesetzen von Maxwell, die sich auf



beziehen.

 

Konstruktion:

Das Luftspulenprinzip wird konstruktiv bei der Maschinenentwicklung umgesetzt, in dem zumindest die Anker-Luftspulen im Schnitt quer zur Bewegungsrichtung gebogen oder gefaltet werden und dabei kompakt auf engem Raum in einem oder mehreren Luftspalten ohne Kontakt zu Eisen verlaufen, wie folgende Beispiele zeigen:


 

Die Spulen bei rotierenden Maschinen werden möglichst nah und möglichst mit beiden Wickelköpfen ( Verbindungs-leitern der Spulenseiten) an die Achse oder Welle herangeführt, wobei jede Spule möglichst vollständig im Feld liegt.

Bei der folgenden Glocken-Scheibenmaschine wird jede Spule nur mit einem Wickelkopf an die Achse herangeführt:


Glocken-Scheibenmaschine


Bei rotierenden Maschinen wird das Optimum durch die Achsannäherung beider Wickelköpfe erreicht. Dies ermöglicht eine nahezu 100%ige Nutzung des Leitungskupfers und deshalb die höchsten Wirkungsgrade.

In der folgenden Doppel-Scheibenmaschine werden etwa 90% des Kupfers genutzt.

Doppel-Scheibenmaschine




 

 

 

 

 

 

 

 

 

 




























3D-Bilder:



Das Funktionprinzip wird durch die rechte Handregel deutlich.

rechte Hand Regel - Luftspulenprinzip



Zeigen eine andere Doppel-Scheibenmaschine, in der etwa 98% des Kupfers vom Feld durchdrungen ist, da auch der Umfangsbereich der Spule mit Magneten bestückt ist:

1. Doppel-Scheibenmaschine (Explosionszeichnung)

2. Axialschnitt zeigt die frei bewegliche Scheibe in der gefalteten Spule und die Magneten im Stirn- und Trommelbereich

3. Nahansicht der Spule, die berührungslos um die Scheibe gefaltet ist


Grundlegende Erkenntnisse:

Grundlegende Erkenntnisse für die Entwicklung des Luftspulenprinzips sind:


1.) Eisen als Spulenkern fügt der Spule kein Feld hinzu, sondern ist lediglich ein Leiter der Feldlinien. So verliert eine in sich geschlossene Feldlinie, wenn sie teilweise durch Eisen verläuft, weniger an Kraft, als wenn sie rein in Luft verläuft. Dadurch ist die Wirksamkeit der Feldlinie an sich meßbar stärker. Die Verstärkung kam also nicht dadurch zustande, daß sich das Feld des Eisens und das der Spule überlagern, sondern durch die Verkürzung des Luftweges der Feldlinie.
Eisen im Magnetkreis ist analog, wie Kupfer im elektrischen Kreis, zu sehen. Kupfer zwischen zwei elektrischen Polen verändert nicht die Quellspannung und fügt dem elektrischen Feld auch nichts hinzu. Es erhöht nur die Wirksamkeit des elektrischen Feldes, also es erhöht den elektrischen Strom.
Solange das Eisen das Feld durch die Verkürzung des Luftweges der Feldlinien, die Feldverluste mindert, ist es prima einzusetzen, wo es aber qualitäts- und quantitätsmindernd auf die Energieumsetzung wirkt, sollte es gemieden werden. Und dies ist der Fall, wenn Eisen umgepolt wird, was neben den direkten Wärmeverlusten noch viele verlustreiche unangenehme Nebeneffekte hat.
Hier ist es ratsam das Feld, falls es notwendig ist, auf andere Weise zu stärken bzw. durch andere Mittel Feldverluste zu vermeiden.
Bei permanentmagnetisch erregten Maschinen ist dies kein Thema, da Erregerverluste nicht in den Wirkungsgrad eingehen, höchstens in die Anschaffungskosten der Permanentmagnete, die sich aber bei einem hohen Wirkungsgrad der Maschine schnell amortisieren.
Im Fall der elektromagnetischen Erregung, ist das Feld besser auszunutzen, so dass einem Streufeld keine Gelegenheit gegeben wird zu entstehen. Hier bietet beim Luftspulenprinzip die Biegung und Faltung des Luftspaltes, d.h. die Biegung und Faltung, sowohl der Erregerspule, als auch der Ankerspule, ideale Bedingungen , da auf diese Weise der Luftspalt im Schnitt quer zur Bewegungsrichtung auf engem Raum länger ist und Streuverluste an den äußeren Rändern des Luftspaltes dadurch prozentual zum Gesamtfeld gering sind. Durch den Wegfall des sich umpolenden Eisens fallen auch sehr viele negative Folgeerscheinungen, wie das Polhaften (Reluktanzmomente), Eisenverluste und Polverschiebungen durch Ankerrückwirkungen und damit aufwendige Gegenmaßnahmen weg. Hierdurch werden nahezu alle Maschineneigenschaften, wenn nicht gerade Polhaften gefordert wird, entscheidend verbessert.
Bestehende Luftspulenmaschinen sind Glockenläufer mit Leistungen von ca. P = 0.1-300W und Scheibenläufer mit Leistungen von P = 0,1-10KW, die schon für diesen niedrigen Leistungsbereich Wirkungsgrade von

nur aufgrund des Verzichtes von Eisen in der Spule haben. Denn ihre Spulenausnutzung ist
mit

relativ schlecht.

2.) Eine andere wichtige Basis des Luftspulenprinzips ist die Erkenntnis, wie wichtig es ist, das Leitungskupfer innerhalb jeder Spule möglichst zu 100% qualitativ optimal ins Feld zu legen. Das heißt es muß einerseits vollständig im Feld liegen und andererseits unter der Optimierung der Rechtwinkligkeitsbedingung aller Vektoren. Dies ist entscheidend für den Wirkungsgrad.

Das heißt die Qualität der Kopplung der umzuwandelnden Energieform muß optimal sein.

Die Verlängerung des wirksamen Leiters auf engem Raum oder das Verlegen der Leiter in Bereiche hoher Geschwindigkeit, so wie die optimale Polflächennutzung ist für den Wirkungsgrad nicht bedeutend, sondern nur für die Leistungsfähigkeit und das Leistungsvolumen der elektrischen Maschinen.

Es dürfen also keine Energieverluste bei der Wandlung entstehen, die bei elektrischen Maschinen in ohmschen Verlusten, Feldverlusten bei elektromagnetischer Erregung, in Eisenverlusten und in Reibungsverlusten des Lagers und des Rotors in der Luft oder in der Kühlflüssigkeit bestehen.

3.) Lagerverluste können durch eine geregelte elektromagnetische Lagerung vermieden werden, die eine elektromagnetische Erregung mit übernehmen kann.

Fortschritt:

Das Luftspulenprinzip bringt nicht nur in jeder technischen Hinsicht Vorteile, wie höchste Wirkungsgrade, sondern führt auch noch zu geringem Materialeinsatz und so zu geringen Herstellungskosten und der geringe Energieverbrauch dieser Maschinen bringt darüber hinaus hohe Einsparungen von Betriebskosten. Die Einsparungen an Energie durch die Verwendung dieser hocheffizienten Maschinen sind volkswirtschaftlich und für den Umweltschutz von großer Bedeutung.
schon 1993 schrieb Helmut Moczala in seinem Buch:



"Erstaunlich hoch sind die Wirkungsgrade von Motoren mit eisenlosen Läufern"

Elektrische Kleinmotoren, S. 166, 2. Auflage, 1993, expert verlag,

wobei hier nur die herkömmlichen Luftspulenmotoren gemeint waren, deren Wirkungsgrad zwar schon erheblich besser ist, als der vergleichbarer Eisenmaschinen (Spulen mit Eisenkern), aber noch weit entfernt ist von dem Wirkungsgrad der Maschinen des Luftspulenprinzips.

Anwendungen:

Das Luftspulenprinzip kann auf nahezu alle bestehenden Maschinentypen angewendet werden, wie z.B. DC-, EC-, AC-Motoren und Generatoren, Drehfeldmaschinen wie, Asynchronmaschinen, Synchronmaschinen, Wechselstrom-maschinen, usw..
Viele Neuentwicklungen werden hier gezeigt und vollständig in dem Buch "Das Luftspulenprinzip", in dem alle Forschungsergebnisse veröffentlicht sind.






Sie finden weitere Informationen:

1.) Zur konstruktiven Umsetzung des
Luftspulenprinzips unter

anschaulich strukturiert
ab S.8: Die neuen Konstruktionsgrundformen
geschützte Konstruktionsformen
ab S.3: Das neue Konstruktionsprinzip

2.) Zum qualitativen und quantitativen
Gewinn unter

detailiert berechnete  Beispiele
ab S.12: Gewinne einzelner Konstruktionsformen